联系热线






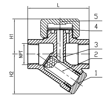
| 外形参数: | ||||||||
| 50产品型号 | 口径(DN) | 连接方式 | 最高允许温度℃ | 阀体材质 | 尺寸 | |||
| L | H1 | H2 | W | |||||
| TD42F(CS49) | 15 | 法兰 | 350 | WCB | 150 | 47 | 54 | 61 |
| 20 | 法兰 | 350 | WCB | 150 | 52 | 59 | 61 | |
| 25 | 法兰 | 350 | WCB | 160 | 59 | 62 | 61 | |
| - | - | - | - | - | - | - | - | |
| - | - | - | - | - | - | - | - | |
| - | - | - | - | - | - | - | - | |
| TD42F(CS19/CS69) | 15 | 内螺纹1/2 | 350 | WCB | 80 | 47 | 54 | 47 |
| 20 | 内螺纹3/4 | 350 | WCB | 90 | 52 | 59 | 57 | |
| 25 | 内螺纹1 | 350 | WCB | 95 | 59 | 62 | 57 | |
| 15 | 承插焊 | 350 | WCB | 80 | 47 | 54 | 47 | |
| 20 | 承插焊 | 350 | WCB | 90 | 52 | 59 | 57 | |
| 25 | 承插焊 | 350 | WCB | 95 | 59 | 62 | 57 | |

工作原理:
本疏水阀是利用热动力学特性,当凝结水排到较低压力区时会发生二次蒸发,并在粘度、密度等方面与蒸汽存在差异驱动启闭件。
结构特点:
1、带蒸汽或空气保温装置,不受环境温度影响,减少动作频率,延长寿命.
2、备有过滤网或排污阀。
3、该阀运作灵敏可靠,排水量大。
主要用途:
本阀门适用于蒸汽管路及蒸汽设备,起到阻止蒸汽泄漏,排除凝结水的作用,从而达到节能和防止水锤现象及其可能引起的故障。