联系热线






| L880-L885型、侧面进出、附过滤网、外部尺寸图(mm) | ||||||
| 产品型号 | 口径(DN) | A | B | C | L | 最大压力 |
| L880 | 1/2、3/4 | 96 | 76 | 70 | 128 | 17 |
| L881 | 1/2、3/4、1 | 96 | 76 | 100 | 128 | 28 |
| L882 | 3/4、1、11/4 | 145 | 94 | 137 | 170 | 27 |
| L883 | 1、11/4、11/2 | 180 | 120 | 193 | 202 | 31 |
| L884 | 11/4、11/2、1 | 203 | 150 | 212 | 232 | 37 |
| L885 | 11/2、2 | 220 | 148 | 248 | 250 | 25 |
| L881F-L886F型、法兰口、附过滤网、外部尺寸图(mm) | ||||||
| 产品型号 | 口径(DN) | A | B | C | L | 最大压力 |
| L881F | 15、20、25 | 96 | 76 | 100 | 170 | 28 |
| L882F | 20、25、32 | 145 | 94 | 137 | 210 | 27 |
| L883F | 25、32、40 | 180 | 121 | 193 | 270 | 31 |
| L884F | 32、40、50 | 203 | 170 | 212 | 320 | 37 |
| L885F | 40、50 | 220 | 148 | 248 | 350 | 25 |
| L886F | 65、80 | 265 | 220 | 310 | 400 | 35 |

| 倒桶式蒸汽疏水阀连续排水能量表(KG/HR)选择时必须考虑2-3倍安全系数 | |||||||
| 型号 | L880 | 881 L881F 81 | 882 L882F 82 | 883 L883F 83 | 884 L884F 84 | 885 L885F 85 | 886 L886F 86 |
| 0.5 | 240 | 420 | 800 | 1520 | 2500 | 3960 | 7190 |
| 1 | 280 | 470 | 930 | 1750 | 2950 | 4500 | 8600 |
| 2 | 230 | 460 | 930 | 1800 | 3020 | 4500 | 8150 |
| 4 | 260 | 410 | 920 | 2000 | 3050 | 4400 | 8800 |
| 8 | 280 | 380 | 800 | 1560 | 2600 | 4600 | 8000 |
| 9 | 310 | 420 | 900 | 1750 | 2950 | 4900 | 8850 |
| 10 | 260 | 365 | 660 | 1550 | 2550 | 4500 | 8450 |
| 12 | 200 | 380 | 720 | 1730 | 2880 | 4850 | 9000 |
| 15 | 230 | 335 | 560 | 1500 | 2500 | 3000 | 8400 |
| 17 | 250 | 350 | 600 | 1550 | 2600 | 3200 | 8650 |
| 21 | 240 | 864 | 1200 | 2200 | 3400 | 7200 | |
| 25 | 250 | 900 | 1300 | 2400 | 2900 | 7800 | |

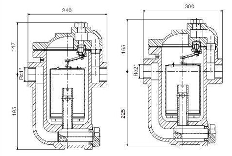
| L883型、侧面进出、附过滤网、外部尺寸图(mm) | ||||||
| 产品型号 | 口径(DN) | A | B | C | L | 最大压力 |
| L883 | 1/2-1 | 180 | 147 | 195 | 240 | 55 |
| L883F | 15-25 | 180 | 147 | 195 | 300 | 55 |
| L885型、侧面进出、附过滤网、外部尺寸图(mm) | ||||||
| 产品型号 | 口径(DN) | A | B | C | L | 最大压力 |
| L885 | 11/4-2 | 220 | 165 | 225 | 280 | 48 |
| L885F | 32-50 | 220 | 165 | 225 | 350 | 48 |

| 倒桶式蒸汽疏水阀连续排水能量表(KG/HR)选择时必须考虑2-3倍安全系数 | ||||||||||||
| TRAP NUMBER | △P KG/C㎡ | |||||||||||
| 0.5 | 1 | 2 | 4 | 9 | 8 | 10 | 12 | 15 | 17 | 21 | 25 | |
| L883 L883F | 1240 | 1384 | 1200 | 1240 | 960 | 1040 | ||||||
| L885 L885F | 3600 | 3880 | 2400 | 2560 | 2720 | 2320 | ||||||
订货正确选型条件
用户根据用汽设备的最大耗气量乘选用倍率(2-3倍),为最大的凝结水量来选疏水阀的排水量。疏水阀的最高工作压差,(即阀前工作压力减去阀后背压)有背压要注明,疏水阀的最高工作温度,疏水使用工况,连接方式,阀材料。
力典倒置桶式蒸汽疏水阀,是机械式蒸汽疏水阀,性能优异,适宜低中高压力使用。内部采用不锈钢零件,阀座则用热处理钢,结构坚固,耐磨耐蚀,使用寿命特长,不易损坏。节约蒸汽,提高热机效率及抗背压之特性尤适合冷凝水回收配置。在疏水阀部,可选择装置逆止阀,节省配管空间。
倒置桶式蒸汽疏水阀它是利用冷凝水和蒸汽的密度差的工作原理,内部结构是由杠杆系统连接倒桶,克服蒸汽压力开关倒桶式疏水阀内部是一个倒桶为液位敏感件,倒桶开口向下。装置刚启动时,管道内出现空气和低温冷凝水,此时疏水阀是全开放,空气和低温冷凝水迅速排除,装置很快提升温度。当蒸汽进入倒桶内,倒桶产生向上浮力,倒桶连接杠杆带动阀芯关闭阀门。倒桶上开有一个孔,能自动排空气,当一部分蒸汽从小孔排出,另一部分蒸汽产生凝结水,倒桶失去浮力向下沉,倒桶连接枝杠杆带动阀芯开启阀门。当蒸汽再进入倒桶内,阀门再关闭,循环工作,间断排水。